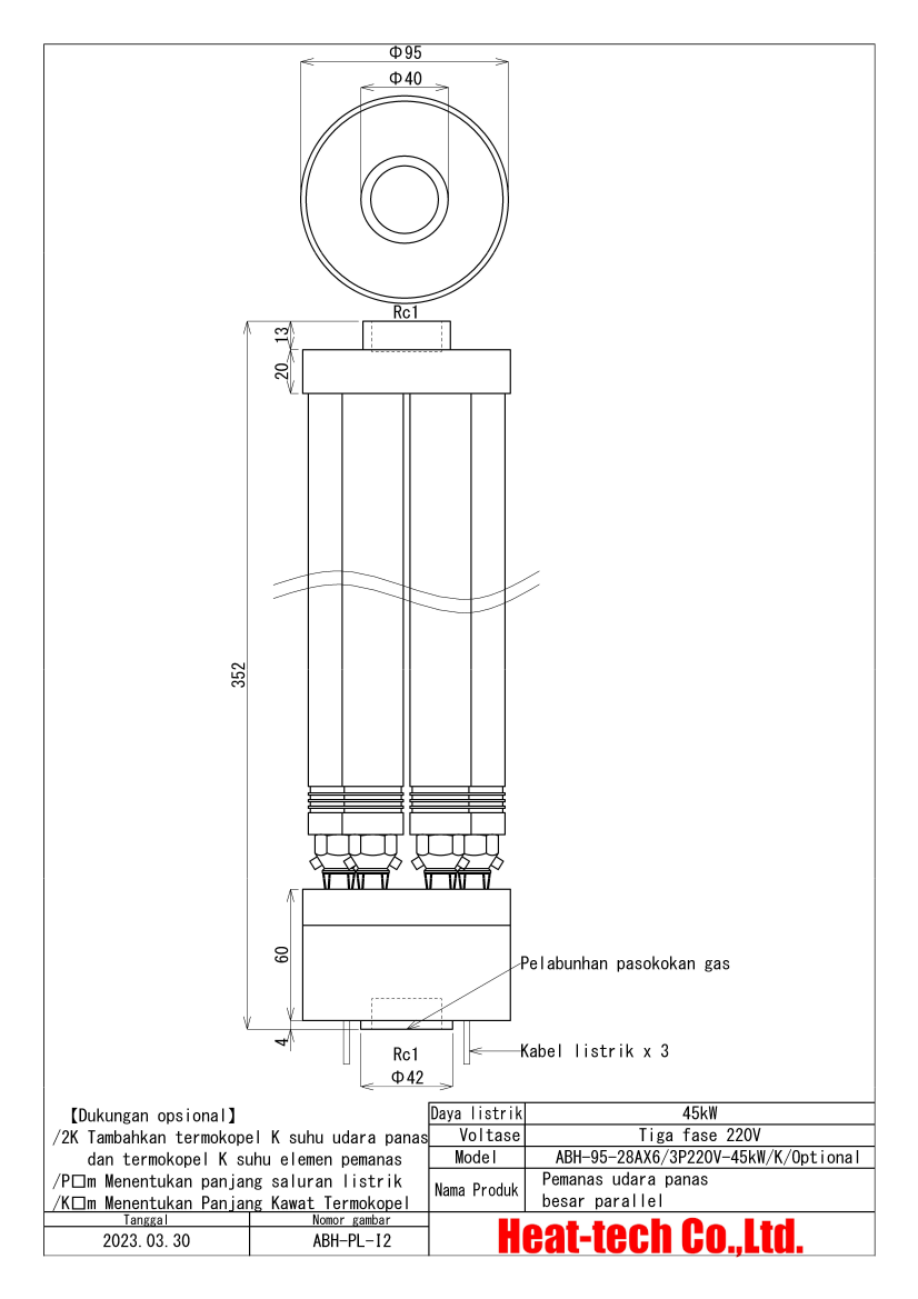
《Pemanas udara panas tipe unit rakitan besar》ABH-28AX
Daftar Isi Halaman Ini:
Fitur pemanas udara panas tipe unit rakitan besar ABH-28AX
- ABH-28AX adalah pemanas udara panas dengan rakitan 3 atau 6 unit ABH-28A.
- Melewati gas dapat dipanaskan hingga 900°C.
- Termokopel di outlet dapat digunakan untuk kontrol suhu yang tepat.
- Karena ujungnya memiliki ulir internal, berbagai perlengkapan logam dapat dipasang.
- Berbagai kotak tabung logam panjang tersedia.
- Sebagai tindakan kesehatan dan keselamatan, suhu elemen pemanas dapat dipantau untuk mencegah panas berlebih.
- Memanaskan menggunakan gas transparan, membuatnya ideal untuk fotografi dan perekaman video.
●Katalog produk pemanas udara panas
Klik di sini untuk memuat turun katalog PDF pemanas udara panas









